Email Us
nl mud pumps manufacturers
nl mud pumps manufacturers

NL Mud Pumps

The NL Series Vertical Mud Pump is a single-stage, single-suction centrifugal pump designed for handling thick, non-fluid slurries and sludge with poor flowability. Its robust construction and optimized hydraulic design ensure reliable performance, easy startup, and efficient operation even under demanding conditions—without the need for priming.


Key Features of NL Mud Pumps

  • No priming required.

  • Suitable for highly viscous and solid-laden fluids.

  • Durable, corrosion-resistant construction.

  • Flexible installation options.

  • Easy maintenance and long service life.


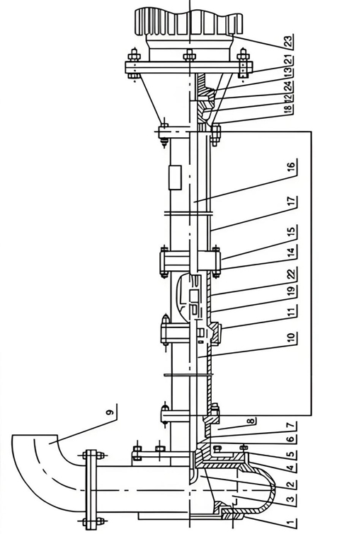
Construction & Design of NL Mud Pumps

Construction & Design of NL Mud Pumps

1

Mesh cover

13

Active Coupling

2

Impeller Nut

14

Connect Bobbin

3

Impeller

15

Bearing Seat

4

Volute Casing

16

Connect Shaft

5

Pump Seat

17

Support Tube

6

O-ring

18

Bearing Cover

7

Oil Seal

19

Driven Coupling

8

Shaft Sleeve

20

Motor Base

9

Outlet Elbow

21

Motor Base C

10

Shaft

22

Active Coupling

11

Bearing

23

Motor

12

Driven Coupling

24

Elastic Block


Key components include the volute, impeller, pump casing, support cylinder, pump seat, motor seat, and motor.


  • Volute, Pump Seat, Motor Seat, and Impeller Nut: Manufactured from cast iron, offering excellent corrosion resistance and durability.

  • Impeller: Features a semi-open, three-vane structure made of cast iron for high strength, wear resistance, and smooth passage of solids.

  • Shaft: Made from cold-drawn high-quality carbon steel, reducing weight and machining requirements.

  • Shaft Protection: The pump seat incorporates four skeleton oil seals and a shaft sleeve to minimize wear and extend service life.


The pump can be installed vertically or at an incline, requiring minimal space. The volute operates submerged in the medium, facilitating easy startup and continuous operation.


Applications of NL Mud Pumps

Ideal for a wide range of industries and scenarios:

  • Mining, papermaking, dyeing, environmental protection, graphite, mica, gold processing, ceramics, refining, petroleum, chemical, agriculture, salt/iodine farms, brewing, food processing, fertilizers, and coking plants.

  • Mud, sand, sludge, and sewage handling in construction, marble processing, and gold mining.

  • Earthworks and small-scale hydraulic engineering—such as land leveling, dredging, and excavation—when paired with high-pressure water pumps and water guns.

  • Urban civil defense, underground projects, and fish pond management (e.g., pond cleaning and aeration).


Performance Parameters of NL Mud Pumps

Flow Rate

20–180 m³/h

Head

8–20 m

Efficiency

41–68%

Motor Power

1.5–22 kW

Speed

1450 r/min (maximum, not to be exceeded)


Operational Guidelines

  • Power Supply: Requires a three-phase, four-wire power source with proper grounding.

  • Protection: Install appropriate fuses and switches to prevent motor damage from clogging.

  • Installation: Can be used without a fixed base; ensure stability with ropes or supports as needed.

  • Rotation Direction: Must operate clockwise (viewed from the motor rear); avoid reverse operation exceeding one minute.

  • Pre-filtering: Use a wire mesh basket to prevent debris from entering and damaging the impeller.

  • Maintenance: After handling abrasive or dirty fluids, flush the pump with clean water. Perform routine maintenance every 1250 operating hours, including bearing inspection, seal replacement, and re-lubrication.

  • Storage: Disassemble, clean, dry, and apply anti-rust oil before long-term storage.


Installation & Dismantling Notes

  • Ensure all parts are intact before assembly. Apply a thin layer of grease on gaskets and fill oil seals with grease.

  • Assemble components in sequence—motor seat, shaft, support cylinder, bearings, shaft sleeve, impeller, and volute—ensuring smooth rotation at each step.

  • Maintain an axial clearance of 1–1.5 mm between coupling halves.


This pump offers a reliable solution for challenging slurry and sludge transport across multiple industries, combining functional durability with operational ease.

More Pictures About NL Mud Pumps

  • nl mud pumps manufacturers
By First Pump
Need a Centrifugal Pump Solution? Get a Free Consultation Today!
Our experts will solve them in no time.
To Know First Pump More
Address
No. 9 Beihe Street, Xingtang Economic Development Zone, Shijiazhuang City, Hebei Province, China.
We use cookies to offer you a better browsing experience, analyze site traffic and personalize content. Part of the tracking is necessary to ensure SEO effectiveness,
By using this site, you agree to our use of cookies. Visit our cookie policy to learn more.
Reject Accept